全国服务热线:
+86-372-2595077/2595078/2595088
用途:
本系列产品应用于电液比例控制系统中,与比例控制放大器配套使用,共同控制力士乐(REXROTH)型十通径螺纹比例阀。在额定行程及额定电流范围内,其输出力与输入电流成比例,通过内置反力弹簧,改变了输出力的特性,使系统输出压力更加稳定。输入电流在额定范围内的无级调节,可实现液压系统执行机构在额定范围内的无级调速和远距离控制。
GP63 系列主要技术参数
| 型号 | GP63-S-A | GP63-S-B | GP63-S-C | GP63-S-D | 
| 额定电流 (A) | 3.3 | 2.6 | 2.5 | 3.3 | 
| 常态电阻20℃ (Ω) | 2 | 4.1 | 3.7 | 2 | 
| 额定吸力 (N) | 170 | 170 | 160 | 170 | 
| 额定行程 (mm) | 4 | 4 | 4 | 4 | 
| 全行程 (mm) | ≥8 | ≥9 | ≥9 | ≥8 | 
| 力滞环 (%) | ≤5 | ≤5 | ≤5 | ≤5 | 
| 电流滞环 (%) | ≤3 | ≤3 | ≤3 | ≤3 | 
| 重复精度 (%) | ≤1 | ≤1 | ≤1 | ≤1 | 
| 承受静态油压 (MPa) | 21 | 21 | 21 | 21 | 
| 工作油温 (℃) | -20~+70 | -20~+70 | -20~+70 | -20~+70 | 
| 外壳防护等级 | IP65 | IP65 | IP65 | IP65 | 
| 电源联结方式 | 插头式 | 接线盒式 | ||
带位移传感器螺纹比例电磁铁主要技术参数
| 型号 | GP63-S-BIW | GP63-S-CIW | 
| 额定电流 (A) | 2.6 | 2.5 | 
| 常态电阻20℃ (Ω) | 4.1 | 3.7 | 
| 额定吸力 (N) | 170 | 160 | 
| 额定行程 (mm) | 4 | 4 | 
| 全行程 (mm) | ≥9 | ≥9 | 
| 力滞环 (%) | ≤5 | ≤5 | 
| 电流滞环 (%) | ≤3 | ≤3 | 
| 重复精度 (%) | ≤1 | ≤1 | 
| 承受静态油压 (MPa) | 21 | 21 | 
| 工作油温 (℃) | -20~+70 | -20~+70 | 
| 外壳防护等级 | IP65 | IP65 | 
| 电源联结方式 | 插头式 | 接线盒式 | 
传感器插头连线标记

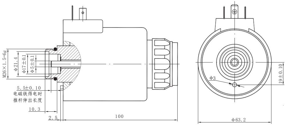
外形及安装尺寸
GP63接线盒式

GP63插头式

GP63系列带反馈接线盒式

GP63系列带反馈插头式

使用注意事项
● 电气控制系统与电磁铁连接部分之间应设置过流保护,以免非正常情况下,烧毁电磁铁及您的电控元件。
● 手动操作按钮是供在安装调试、维修或紧急情况下使用的。
样本说明
● 如顾客有不同的需要,在电磁铁性能不变的情况下,电磁铁与阀体的联结尺寸、电源连接方式、推杆伸出长度可以根据要求调整。
 中文(简体)
 中文(简体) English
 English Русский
 Русский Espa?ol
 Espa?ol 
                         
             
                             
                             
                                             
                                             
                                             
                                             
                                             
                                             
                                             
                                             
                                             
                                             
                                             
                                             
                    