全国服务热线:
+86-372-2595077/2595078/2595088
用途:
本系列产品应用在高频响比例方向阀,比例压力阀,该电磁铁集成了非接触型高精度LVDT位移传感器;电磁铁电流和力成比例关系,具有动态响应特性好,滞环小的特点;可应用于力士乐型4WRPH6、4WRPEH6、4WRPH10、4WRPEH10、4WRPE..EA,DB ETBEX等高频响阀。
GP45K4和GP61K4系列主要技术参数
| 型号 | GP45K4-GWXF005 | GP61K4-GWXF005 | 
| 额定电流 (A) | 2.7 | 3.7 | 
| 额定电阻20℃ (Ω) | 3 | 2.5 | 
| 额定吸力 (N) | 85 | 180 | 
| 额定行程 (mm) | 3 | 4 | 
| 全行程 (mm) | ≥6 | ≥9 | 
| 力滞环 (%) | ≤4 | ≤4 | 
| 承受静油压 (MPa) | 21 | 21 | 
| 工作油温 Oil (℃) | -20~+70 | -20~+70 | 
| 外壳防护等级 | IP65 | IP65 | 
位移力特性曲线

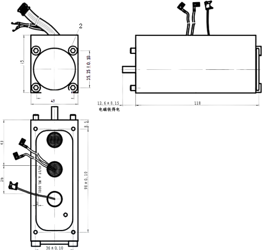
外形及安装尺寸
GP45K4-GWXF005 比例阀用电磁铁

GP61K4-GWXF005 比例阀用电磁铁

 中文(简体)
 中文(简体) English
 English Русский
 Русский Espa?ol
 Espa?ol 
                         
             
                             
                             
                                             
                                             
                                             
                                             
                                             
                                             
                                             
                                             
                                             
                                             
                                             
                                             
                    